Блок в салоне альмера классик
Он расположен в панели приборов с левой стороны, за небольшим ящиком.
Схема
Описание
| 1 | 15А Электродвигатель отопителя |
| 2 | 15А Электродвигатель отопителя |
| 3 | Резерв |
| 4 | 10А Указатели поворота |
| 5 | 10А Комбинация приборов и фонари света заднего хода |
| 6 | 10А Анти блокировочная система тормозов |
| 7 | 20А Стеклоочистители |
| 8 | 10А Обогрев передних сидений |
| 9 | 15А Топливный насос |
| 10 | 10А Дополнительные потребители |
| 11 | 20А Обогрев заднего стекла |
| 12 | Резерв |
| 13 | 10А Фары |
| 14 | 10А Форсунки системы впрыска топлива |
| 15 | 10А Комбинация приборов, часы |
| 16 | 15А Прикуриватель |
| 17 | 10А Наружные зеркала заднего вида |
| 18 | 10А Плафон освещения салона |
| 19 | 15А Замки дверей |
| 20 | 10А Стоп-сигналы |
| 21 | 10А Автомагнитола |
| 22 | 10А Система управления двигателем |
| 23 | 10А Подушки безопасности |
| 24 | 10А Кондиционер |
| 25 | 10А Система управления автоматической коробкой передач |
| 26 | 10А Система зажигания |
Реле лицевой части
- реле стеклоподъемников;
- реле заднего противотуманного фонаря;
- реле центрального замка
Реле тыльной стороны
- реле системы кондиционирования;
- 1-е реле зажигания;
- 2-е реле зажигания;
- реле дополнительного оборудования.
Блоки в салоне
Расположение блоков
Toyota Ipsum
Схема

Описание
- 7 реле топливного насоса
- 8 блок управления двигателем
- 9 блок управления камерой заднего вида
- 10 центральный монтажный блок
- 11 усилитель магнитолы
- 12 ТВ-приемник ( с 08.97)
- 13 блок реле №1,
- 14 реле заднего отопителя
- 15 монтажный блок предохранителей в салоне
- 16 блок реле на перегородке моторного отсека
- 17 реле питания дополнительного оборудования
- 18 реле управления центральным замком
- 19 центральный датчик системы SRS
- 20 датчик замедления (ABS)
- 21 усилитель кондиционера
- 22 блок управления ABS
- 23 блок предохранителей
- 24 блок управления системы парковки
- 25 кронштейн разъема.
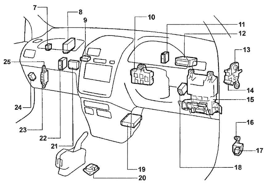
Toyota Picnic
Схема

Назначение
- 6 реле управления замками дверей
- 7 блок управления иммобилайзером
- 8 центральный монтажный блок
- 9 блок управления двигателем (модели с МКПП), блок управления двигателем и АКПП (модели с АКПП)
- 10 реле системы освещения в дневное время
- 11 реле топливного насоса
- 12 блок управления ABS
- 13 усилитель кондиционера
- 14 реле разъема подключения дополнительного оборудования
- 15 монтажный блок разъема подключения дополнительного оборудования
- 16 усилитель иммобилайзера
- 17 датчик системы SRS
- 18 монтажный блок предохранителей в салоне
- 19 интегрированное реле
- 20 реле заднего отопителя
- 21 блок реле в перегородке моторного отсека.
Блок предохранителей
Монтажный блок предохранителей находится в нижней части панели приборов за защитной крышкой.

Пример схемы с крышки блока

Схема

Обозначение
| 1 | 7,5A TURN – Индикаторы указателей поворота |
| 2 | 7,5A IDLE UP – Электронный блок управления двигателем |
| 3 | 30A DOOR – Замки дверей |
| 4 | 7,5A STARTER – Электронный блок управления двигателем |
| 5 | 10A TAIL – Габариты подсветка номера |
| 6 | 20A WIPER – Стеклоочистители и стеклоомыватели |
| 7 | 10A ECU-IG – АБС, система парковки, электронный блок управление системы полного привода |
| 8 | 15A METER АС – Кондиционер и отопитель |
| 9 | 15A STOP – Стоп-сигналы, дополнительный стоп-сигнал |
| 10 | 15A LITER, RADIO – Часы, радио, проигрыватель компакт дисков, предохранитель прикуривателя, система управления зеркалами |
| 11 | 7,5A IG – Электронный блок управления двигателем |
| 12 | 30A RR DEF – Обогреватель заднего стекла |
| 13 | 10A RR HEATER – Задний отопитель |
| 14 | 15A FR FOG – Передние противотуманные фары |
| 40А AM1 – Группа питания контактор замков зажигания | |
| 30А POWER – Стеклоподъемники |
Предохранители, плавкие вставки и реле Nissan Patrol
Предохранители, плавкие вставки и реле
Проверка состояния и замена предохранителей
|
Для замены вышедшего из строя предохранителя используйте только соответствующий ему по номинальной силе тока (см. маркировку на корпусе предохранителя). Установка предохранителя, рассчитанного на более высокий ток чревато повреждением электропроводки и возгоранием. |
|
|
ПОРЯДОК ВЫПОЛНЕНИЯ |
|
|
Проверка состояния и замена плавких вставок
|
Для замены плавкой вставки используйте только вставки фирменного изготовления и тех же параметров. Установка вставки, рассчитанной на более высокий ток чревато повреждением электропроводки и возгоранием. Новая плавкая вставка должна устанавливаться только после выяснения и устранения причины выхода из строя старой. |
|
Главная плавкая вставка(и) расположена на кронштейне вблизи аккумуляторной батареи (см. сопроводительную иллюстрацию). |
|
ПОРЯДОК ВЫПОЛНЕНИЯ |
|
|
Местоположение реле
|
Реле систем электрооборудования расположены в различных точках автомобиля. |
|
Реле вспомогательный аксессуаров, систем зажигания и отопления расположены в монтажном блоке предохранителей. Прочие реле закреплены в металлической крышке вблизи батареи (см. сопроводительную иллюстрацию). |
Идентификация местоположения каждого реле нанесена на обратной стороне крышки.
Таймер блокировки дверей, прерыватель контура и реле электропривода стеклоподъемников расположены позади вещевого ящика.
Видео про «Предохранители, плавкие вставки и реле» для Nissan Patrol
НАЗНАЧЕНИЕ ПРЕДОХРАНИТЕЛЕЙ ПОД КАПОТОМ НИССАН АЛЬМЕРА КЛАССИК
реле и предохранители на эбу,карлсон и бензонасос
Реле стартера есть, но стартер всё равно не включается с замка зажигания.
13.5 Цепи, защищаемые предохранителями / Renault 19
Цепи, защищаемые предохранителями
|
№ п/п |
Сила тока | Цвет провода | Получает электропитание | Подключенные потребители | |
| Вход | Выход | ||||
| 1 | 30 | Желтый | Желтый | Через замок зажигания | Левый стеклоподъемник |
| 2 | 30 | Желтый | Желтый | Через замок зажигания | Правый стеклоподъемник |
| 3 | 10 | Синий | Синий | От комб. переключателя света | Левые габаритные огни |
| 4 | 10 | Синий | Синий | От комб. переключателя света | Правые габаритные огни, индикация переключателя, предупредительный сигнал «Включен свет» |
| 5 | 10 | Оранжевый | Зеленый | От соответствующего реле | Задние противотуманные фары |
| 6 | 10 | Фиолетовый | Фиолет./белый | От комб. переключателя для сигнала поворота | Прерыватель аварийных огней |
| 7 | 30 | Красный | Красный | Непосредственно от аккумулятора | Кондиционер |
| 8 | 20 | Красный | Красный | Непосредственно от аккумулятора | Вентилятор радиатора |
| 9 | 30 | Красный | Красный | Непосредственно от аккумулятора | Кондиционер |
| 10 | — | — | — | — | Место не использовано |
| 11 | — | — | — | — | Место не использовано, функции двигателя* |
| 12 | 5 | Желтый | Желтый | Через замок зажигания | Автоматическая коробка передач |
| 13 | 15 | Желтый | Желтый | Через замок зажигания | Антиблокировочная система |
| 14 | 20 | Желтый | Желтый | Через замок зажигания | Сдвижная крыша, бортовой компьютер, обогрев заднего стекла, обогрев зеркал, электронное устройство блокировки пуска* |
| 15 | 5 | — | — | — | Противоугонная система |
| 16 | — | — | — | — | Место не использовано |
| 17 | 10 | Желтый | Желтый | Через замок зажигания | Часы, радио, бортовой компьютер, противоугонная система |
| 18 | 20 | Желтый | Желтый | Через замок зажигания | Вентилятор отопления |
| 19 | 30 | Красный | Красный | Через замок зажигания | Очиститель и омыватели фар |
| 20 | 10 | Красный | Красный | Непосредственно от аккумулятора | Разл. режимы работы стеклоочистителя лобового стекла, конечное положение стеклоочистителя |
| 21 | 30 | Красный | Красный | Непосредственно от аккумулятора | Центральный замок, электронная блокировка пуска |
| 22 | 20 | Красный | Красный | Непосредственно от аккумулятора | Обогрев заднего стекла (Реле) |
| 23 | 15 | Красный | Красный | Непосредственно от аккумулятора | Радио, внутреннее освещение Освещение багажника |
| 24 | 30 | Красный | Красный | Через замок зажигания | Главный предохранитель |
| 25 | 15 | Красный | Красный | Непосредственно от аккумулятора | Часы, бортовой компьютер, регулировка наружных зеркал, противоугонная система |
| 26 | 15 | Желтый | Желтый | Непосредственно от аккумулятора | Стеклоочиститель и стеклоомыватель лобового стекла |
| 27 | 20 | — | — | Через замок зажигания | Отопление сидений |
| 28 | 15 | Желтый | Желтый | Непосредственно от аккумулятора | Стеклоочиститель и стеклоомыватель заднего стекла, прикуриватель, свет заднего хода |
| 29 | 10 | Желтый | Желтый | Непосредственно от аккумулятора | Фонари стоп-сигнала |
*) Дополнительные подключения, начиная с модельного ряда ’92
13.5. Цепи, защищаемые предохранителями
| № п/п |
Сила тока | Цвет провода | Получает электропитание | Подключенные потребители | |
| Вход | Выход | ||||
| 1 | 30 | Желтый | Желтый | Через замок зажигания | Левый стеклоподъемник |
| 2 | 30 | Желтый | Желтый | Через замок зажигания | Правый стеклоподъемник |
| 3 | 10 | Синий | Синий | От комб. переключателя света | Левые габаритные огни |
| 4 | 10 | Синий | Синий | От комб. переключателя света | Правые габаритные огни, индикация переключателя, предупредительный сигнал «Включен свет» |
| 5 | 10 | Оранжевый | Зеленый | От соответствующего реле | Задние противотуманные фары |
| 6 | 10 | Фиолетовый | Фиолет./белый | От комб. переключателя для сигнала поворота | Прерыватель аварийных огней |
| 7 | 30 | Красный | Красный | Непосредственно от аккумулятора | Кондиционер |
| 8 | 20 | Красный | Красный | Непосредственно от аккумулятора | Вентилятор радиатора |
| 9 | 30 | Красный | Красный | Непосредственно от аккумулятора | Кондиционер |
| 10 | — | — | — | — | Место не использовано |
| 11 | — | — | — | — | Место не использовано, функции двигателя* |
| 12 | 5 | Желтый | Желтый | Через замок зажигания | Автоматическая коробка передач |
| 13 | 15 | Желтый | Желтый | Через замок зажигания | Антиблокировочная система |
| 14 | 20 | Желтый | Желтый | Через замок зажигания | Сдвижная крыша, бортовой компьютер, обогрев заднего стекла, обогрев зеркал, электронное устройство блокировки пуска* |
| 15 | 5 | — | — | — | Противоугонная система |
| 16 | — | — | — | — | Место не использовано |
| 17 | 10 | Желтый | Желтый | Через замок зажигания | Часы, радио, бортовой компьютер, противоугонная система |
| 18 | 20 | Желтый | Желтый | Через замок зажигания | Вентилятор отопления |
| 19 | 30 | Красный | Красный | Через замок зажигания | Очиститель и омыватели фар |
| 20 | 10 | Красный | Красный | Непосредственно от аккумулятора | Разл. режимы работы стеклоочистителя лобового стекла, конечное положение стеклоочистителя |
| 21 | 30 | Красный | Красный | Непосредственно от аккумулятора | Центральный замок, электронная блокировка пуска |
| 22 | 20 | Красный | Красный | Непосредственно от аккумулятора | Обогрев заднего стекла (Реле) |
| 23 | 15 | Красный | Красный | Непосредственно от аккумулятора | Радио, внутреннее освещение Освещение багажника |
| 24 | 30 | Красный | Красный | Через замок зажигания | Главный предохранитель |
| 25 | 15 | Красный | Красный | Непосредственно от аккумулятора | Часы, бортовой компьютер, регулировка наружных зеркал, противоугонная система |
| 26 | 15 | Желтый | Желтый | Непосредственно от аккумулятора | Стеклоочиститель и стеклоомыватель лобового стекла |
| 27 | 20 | — | — | Через замок зажигания | Отопление сидений |
| 28 | 15 | Желтый | Желтый | Непосредственно от аккумулятора | Стеклоочиститель и стеклоомыватель заднего стекла, прикуриватель, свет заднего хода |
| 29 | 10 | Желтый | Желтый | Непосредственно от аккумулятора | Фонари стоп-сигнала |
*) Дополнительные подключения, начиная с модельного ряда ’92
Блок в салоне
В салоне основной блок с предохранителями находится в панели приборов за защитной крышкой.
Фото – схема

Описание
| а | 40A АМ1 (цепь вывода АМ1 замка зажигания (выводы ACC. IG1. ST1) |
| b | 30A POWER (стеклоподъемники, люк и центральный замок) |
| с | 40A DEF (обогреватель заднего стекла) |
| 1 | 15A STOP (стоп-сигналы) |
| 2 | 10A TAIL (габариты) |
| 3 | 20А TAIL MAIN (габариты) |
| 4 | 15А ECU-IG (электроника трансмиссии. АБС, замок системы управления (АКПП) |
| 5 | 20А WIPER (стеклоочистители) |
| 6 | 7,5А ST (система запуска) |
| 7 | 7,5А IGN (зажигание) |
| 8 | 15А CIG & RAD (прикуриватель, магнитола, часы, антенна) |
| 9 | 10А TURN (сигналы поворота) |
| 10 | 15А ECU-В (АБС, электро питание центрального замка) |
| 11 | 7,5А PANEL (освещение приборов. освещение перчаточного ящика) |
| 12 | 30А FR DEF (обогреватель заднего стекла) |
| 13 | 10А GAUGE (приборы) |
| 14 | 20А SEAT HTR (подогреватель сидений) |
| 15 | 10А MIR HTR (обогреватель зеркал) |
| 16 | 20А FUEL HTR (подогреватель топлива) |
| 17 | 15А FR DEF IAJP (повышение частоты вращения холостого хода при включении обогревателя ветрового стекла) |
| 18 | 7,5А RR DEF 1/UP (повышение частоты вращения холостого хода при включении обогревателя заднего стекла) |
| 19 | 15А FR FOG (противотуманные фары) |
Блок под капотом
Под капотом могут располагаться 2 блока с плавкими предохранителями и реле.
Основной блок
Находится в левой части моторного отсека.

Схема

Назначение предохранителей
| 1 MDPS 1 | 80A Блок электро усилителя рулевого управления (MDPS) |
| 2 Генератор (ALT) | 125/150A Предохранители – АКБ1, АКБ2, Зажигание2, Обогреватель топливного фильтра, Вентилятор охлаждения, ECU1, TCU2, Ближний свет фар, Топливный насос, Звуковой сигнал, ECU3, Кондиционер воздуха, АКБ3, Зажигание1, Розетка питания1 |
| 3 Обогреватель заднего стекла | 40A Распределительная коробка приборной панели (реле обогревателя заднего стекла) |
| 4 АБС 1 (ABS) | 40A Модуль управления электронной системы динамической стабилизации (ESC) |
| 5 АБС 2 (ABS) | 40A Модуль управления электронной системы динамической стабилизации (ESC) |
| 6 Вентилятор | 40A Реле вентилятора кондиционера воздуха |
| 7 Стеклоочиститель | 10A Электродвигатель переднего стеклоочистителя, многофункциональный переключатель, реле стеклоочистителя |
| 8 ЭБУ 2 (E2) | 10A Разъем соединения |
| 9 Правая фара ближний свет (RH) | 10A Ближний свет, правая фара |
| 10 Левая фара ближний свет (LH) | 10A Ближний свет, левая фара |
| 11 Правая фара дальний свет (RH) | 10A Дальний свет, правая фара |
| 12 Левая фара дальний свет (LH) | 10A Дальний свет, левая фара |
| 13 Катушка зажигания (IGN COIL) | 20A Катушки зажигания № 1-4, конденсатор |
| 14 Форсунка (INJECTOR) | 15A ECM (модуль управления двигателем)/PCM (комбинированный модуль управления двигателем и коробкой передач), ЭБУ электронного ключа, форсунки №1-4 |
| 15 Фонари заднего хода (B/UP Lamp) | 10A Выключатель фонаря заднего хода |
| 16 АКБ 1 | 40A Распределительная коробка приборной панели (предохранители – задний противотуманный фонарь, DRL, потолочный плафон, аудиосистема, блокировка дверей, датчик положения тормозной педали) |
| 17 АКБ 2 | 50A Распределительная коробка приборной панели (предохранители – электро стекло подъемник левой двери с защитой от защемления, подогрев заднего сидения, реле электро стекло подъемника) |
| 18 Зажигание 2 (IG2) | 40A Выключатель зажигания, распределительный блок PDM (реле IG2), реле стартера |
| 19 Вентилятор охлаждения | 40A Реле №2 вентилятора охлаждения, реле №1 вентилятора охлаждения |
| 20 ЭБУ 1 (E1) | 30A Главное реле |
| 21 БУТ 2 (T2) | 20A РСМ (комбинированный модуль управления двигателем и коробкой передач) |
| 22 Левая фара ближний свет | 20A Реле ближнего и дальнего света фар |
| 23 Топливный насос (FUEL PUMP) | 15A Реле топливного насоса |
| 24 Звуковой сигнал | 10A Реле звукового сигнала |
| 25 ЭБУ 3 (E3) | 15A ECM (модуль управления двигателем)/PCM (комбинированный модуль управления двигателем и коробкой передач) |
| 26 Кондиционер воздуха (A/C) | 10A Реле кондиционера воздуха |
| 27 АКБ 3 | 40A Распределительная коробка приборной панели (предохранители – Лампа Стоп сигнала, электронный ключ, блок экстренного вызова, указатель поворота, передняя противотуманная фара, иммобилайзер, реле заднего габаритного огня) |
| 28 Зажигание 1 (IG1) | 30A Выключатель зажигания, коробка реле PDM (реле IG1, реле ACC) |
| 29 Розетка питания 1 (Power Outlet) | 40A Распределительная коробка приборной панели (реле розетки питания) |
| 30 Телематика (TELEMATICS) | 10A Устройство мониторинга |
Обозначение реле
- Главное реле
- Реле стартера
- Реле топливного насоса
- Реле №2 стеклоочистителя
- Реле дальнего света фар
- Реле №2 вентилятора охлаждения
- Реле кондиционера воздуха
- Реле вентилятора кондиционера воздуха
- Реле №1 вентилятора охлаждения
- Реле №1 стеклоочистителя
- Реле фар
- Реле звукового сигнала
Таблица
Дополнительный блок

Схема
Тут могут быть предохранители и реле ответственные за нагрев.
У нас на канале мы так же подготовили видео по данной статье, смотрите и подписывайтесь.
На этом всё, а если Вам есть чем дополнить материал, пишите в комментарии.
Блок предохранителей под капотом Kia Rio 4
Где предохранители под капотом Киа Рио 4 ?
В его состав входят релейные устройства типа МИКРО, обеспечивающие работу следующего оборудования:
- подогрев элемента топливного фильтра — PTC HEATER;
- стартер;
- топливный насос — FUEL PUMP;
- дворники 1, 2;
- ослепительный;
- вентилятор охлаждения №1, 2 радиатора силового агрегата Киа Рио 4-го поколения;
- кондиционер;
- вентилятор кондиционера;
- заблокировать фары;
- сигнал.
Также предусмотрено ГЛАВНОЕ реле типа МИНИ.
Предохранители моторного отсека Kia Rio 4 поколения также имеют буквенное и символическое обозначение. Назначение буквенного обозначения предохранителей:
- ALT — силовые цепи IG 1, 2, АКБ 1,2, 3, PTC HEATER, ЭБУ вентилятора охлаждения радиатора, ЭБУ 1, 3, TCU 2, ТОПЛИВНЫЙ НАСОС, ближний свет, сигнал, кондиционер, РОЗЕТКА ПИТАНИЯ 1 (125 и 150A соответственно для модификаций Киа Рио 4 поколения с двигателем 1,4 и 1,6 л);
- IGN COIL — конденсатор, катушки зажигания (20А);
- ИНЖЕКТОР — топливные форсунки, ЭБУ двигателя, трансмиссия (15А);
- B / UP LAMP — фонарь заднего хода (10А);
- IG 1 — замок зажигания, ACC и IG 1 (30А);
- IG 2 — выключатель зажигания, пуска и IG 2 (40А);
- PTC HEATER — обогрев элемента топливного фильтра (50А);
- FUEL PUMP — топливный насос (15А);
- POWER OUTLET 1 — разъем реле для подключения дополнительного оборудования (40А).
Название, предназначение моторного отсека Киа Рио четвертого поколения сливается с условным обозначением:
Расположение предохранителей в Kia Rio 4
- МДПС 1 — электроусилитель руля (80А);
- Обогрев заднего стекла — система обогрева заднего стекла (40А);
- ABS 1, 2 — ESC (40А);
- Fan — реле вентилятора охлаждения кондиционера (40А);
- Стеклоочиститель — электропривод, реле части передних дворников, переключатель на рулевой колонке (10А);
- ЭБУ 2 — разъем (10А);
- Правая и левая фара — соответственно правая, левая ближний свет, дальний свет (10А);
- Аккумулятор 1 — разводка питания на задние ПТФ, ДХО, датчик положения педали тормоза, плафон, автоматический замок дверей (40А);
- Аккумулятор 2 — цепи питания предохранителей привода стеклоподъемника водителя с предотвращением защемления, подогрева заднего ряда сидений, реле стеклоподъемника (50 А);
- Вентилятор — реле 1, 2 вентилятора охлаждения ДВС (40А);
- ЭБУ 1 — главное реле (30А);
- МА 2 — ЭБУ силового агрегата трансмиссии (20А);
- Левая фара — реле ближнего света, дальнего света левой фары в сборе (20А);
- Сигнал — реле звукового сигнала (10А);
- ЭБУ 3 — ЭБУ силового агрегата трансмиссии (15А);
- Кондиционер — часть реле системы кондиционирования (10А);
- Аккумулятор 3 — цепи питания поворотников, стоп-сигналов, передних ПТФ, программы экстренного вызова, иммобилайзера, электронного ключа и задних габаритов (40А).
Предохранители и реле под капотом
Блок с предохранителями
Он расположен с левой стороны от аккумуляторной батареи.На крышке будет нанесена актуальная схема с описанием.
Общая схема
Назначение
- Резерв
- Резерв
- Резерв
- 15А Звуковой сигнал
- 15А Дроссельная заслонка
- 10А Габаритные огни
- 10А Система управления двигателем
- Резерв
- 15А Катушки зажигания
- 30А Цепь замка зажигания
- 20А Антиблокировочная система тормозов
- 20А Антиблокировочная система тормозов
- 20А Антиблокировочная система тормозов
- 65А 1-й главный предохранитель
- Резерв
- Резерв
- 15А Обогрев ветрового стекла
- 5А Антиблокировочная система тормозов
- 10А Задний противотуманный фонарь
- 20А Комбинация приборов
- 15А Противотуманные фары
- 15А Дальний свет фар
- 15А Ближний свет фар
- 100А Генератор
- 30А 1-й электродвигатель вентилятора радиатора
- 30А 2-й электродвигатель вентилятора радиатора
- 30А Стеклоподьемник
- Резерв
- 65А 2-й главный предохранитель
Блок с реле
Он находится возле правого крыла машины, рядом с бочком омывающей жидкости.
Фото – схема
Расшифровка
| 1 | Реле ближнего света фар |
| 2 | Реле противоугонной сигнализации |
| 3 | Реле дальнего света фар |
| 4 | 2-е реле вентилятора радиатора |
| 5 | Диагностический разъем ABS |
| 6 | 1-е реле вентилятора радиатора |
| 7 | Реле звукового сигнала |
| 8 | Реле кондиционера |
| 9 | Реле автоматической коробки передач |
| 10 | 3-е реле вентилятора радиатора |
Под капотом
Устройство защиты и коммутации
Разработчики из Рено не предусмотрели удобства автовладельцам для самостоятельной работы в этом узле. С одной стороны, конструкторы рассчитывают на надежную и долговременную службу электроники. С другой стороны, они настоятельно рекомендуют обращаться в сервисное обслуживание во избежание еще большей поломки. Теперь тем владельцем машин, у каких гарантийный срок истек, приходится усердно потеть.
Во-первых, так исключена возможность короткого замыкания. Во-вторых, в противном случае во время обратного подключения аккумулятора может сработать иммобилайзер, тогда двери заблокируются.
Алгоритм работы после поднятия капота
- Снять аккумулятор;
- Справа от него открыть коробку и оттуда извлечь короткий провод, идущий к минусовой клемме (чтобы не мешал дальше работать);
- Открутить кронштейн, держащий аккумуляторную батарею;
- В процессе разборки снимать штекерные соединения и ослаблять пучки проводов, это даст пространство для рук;
- Ослабить крепления коммутационного блока и вытащить его с кожухом;
- Снять кожух и в руках окажется коробка с предохранителями, а также различными реле и проводами к ним;
- Отсоединить штекеры, теперь удобно осматривать.
Проводные соединения между собой отличаются, можно не запоминать их. Все собрать обратно будет легко.
Этот узел обеспечивает безопасность такому электрооборудованию:
- ближний и дальний свет фар;
- габаритные огни;
- заднее освещение;
- система впрыска топлива в двигатель;
- навигационная система;
- тяговое реле стартера;
- другое.
Защита цепей питания
Такое устройство находится под защитно-коммутационным блоком. Чтобы добраться к нему, требуется повторить описанный выше алгоритм. Тут элементы касаются:
- вентилятора охлаждающей системы двигателей;
- контроллера предпускового подогрева;
- усилителя управления рулем;
- разных реле дополнительного подогрева и др.
Глубокое местоположение узла защиты цепей питания объясняется мерами предосторожности, поскольку здесь проходит электричество с большей сила тока – до 70 А





























