Проверка и замена
Так как коленчатый вал работает в тяжелых условиях под воздействием высоких температурных и других нагрузок, то на оси его могут удерживать только эти подшипники. Шейки выполняют роль внутренней обоймы, а вкладыши – наружных. Как и прочие элементы двигателя, эти детали также нужно периодически менять.
Меняют вкладыши чаще по причине износа, а также по причине проворота. Провернуть вкладыш может по следующим причинам. Это вязкое масло, попадание в масло абразива, малый натяг при установке крышки, недостаточная вязкость смазочного материала, эксплуатация в условиях перегрузок.
Замена переднего сальника коленчатого вала Mercedes-Benz W163
Замена переднего сальника коленчатого вала
М612
Детали установки переднего сальника коленчатого вала двигателя серии 612
|
1 — Ремень привода вспомогательных агрегатов |
4 — Центральный болт шкива приводного ремня |
Детали установки переднего сальника коленчатого вала двигателя серии 612
|
4 — Центральный болт шкива приводного ремня |
8 — Сальник |
|
ПОРЯДОК ВЫПОЛНЕНИЯ |
|
|
М628
Детали установки передней торцевой крышки/сальника коленчатого вала двигателя серии 628
|
1 — Ремень привода вспомогательных агрегатов |
4 — Передний сальник коленчатого вала |
|
ПОРЯДОК ВЫПОЛНЕНИЯ |
|
|
Видео про «Замена переднего сальника коленчатого вала» для Mercedes-Benz W163
Замена Переднего Сальника Коленвала Mercedes-Benz C-klasse III (W204)
Обманчивая течь заднего сальника коленвала на Mercedes Benz OM642 (R Class I 3.0d )
Замена сальников коленвала двигателей MERCEDES BENZ (JTC-4198)
Болты крышек шатунных подшипников
12. Производитель рекомендует измерять болты крышек шатунных подшипников, чтобы определить необходимость замены болтов. Однако, некоторые владельцы захотят заменить болты независимо от их состояния. Настоятельно рекомендуется заменять все болты набором.
13. Выдавите или выбейте болты из шатунов.
14. На 4-цилиндровых двигателях измерьте диаметр болтов в самой узкой части (см. рис. 16.14). Если диаметр меньше, чем требуется техническими данными, болты замените.

Рис. 16.14. Измерьте диаметр болта крышки шатунного подшипника в самой узкой части (с) — 4-цилиндровые двигатели
15. На всех двигателях, за исключением 4-цилиндровых бензиновых, измерьте длину каждого болта от основания головки до конца стержня. Если длина болта больше, максимально допустимой, болты следует заменить.
Головка цилиндров — сборка Mercedes 190 W201, Капремонт двигателей Четырех цилиндровые бензиновые двигатели — снятие и установка Mercedes 190 W201, Капремонт двигателей
Скачивание книги
После успешного прохождения платежа (любым способом) и возврата в магазин KrutilVertel с сайта платежной системы Вы попадаете на страницу успешной оплаты:
Купленная Вами книга будет находиться в Вашем личном кабинете, откуда ее всегда можно будет скачать.
Обратите внимание, что после совершения оплаты, Вам необходимо вернуться обратно с сайта платежной системы на сайт KrutilVertel. В случае, если по каким либо причинам Вы не вернулись обратно на сайт и закрыли вкладку платежной системы с сообщением про успешное прохождение платежа, сообщите нам об этом — мы вышлем Вам письмо в котором будет указан доступ для скачивания книги. В случае, если по каким либо причинам Вы не вернулись обратно на сайт и закрыли вкладку платежной системы с сообщением про успешное прохождение платежа, сообщите нам об этом — мы вышлем Вам письмо в котором будет указан доступ для скачивания книги
В случае, если по каким либо причинам Вы не вернулись обратно на сайт и закрыли вкладку платежной системы с сообщением про успешное прохождение платежа, сообщите нам об этом — мы вышлем Вам письмо в котором будет указан доступ для скачивания книги.
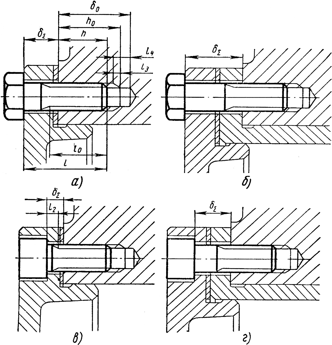
Определение необходимой длины винта и глубины резьбового отверстия
Стаканы совместно с крышками подшипников или отдельно крышки подшипников обычно крепятся к корпусным деталям болтами с шестигранной головкой или винтами с цилиндрической головкой впотай.
Длину резьбы винтов и глубину нарезания резьбы в отверстиях определяют с учетом сбегов и недорезов резьбы.
На стержне винта недорез резьбы образуется в результате того, что при нарезании резьбы плашка упирается в головку винта и в результате резьба получается недорезанной на величину l2 (рис. 1, в), в которую включается 1…2 витка резьбы с неполным профилем – сбег.

Рис. 1. Крепление крышек подшипников (а, в) и крепление крышек подшипников со стаканами (б, г) к корпусным деталям
При нарезании резьбы в несквозном отверстии корпуса метчик не сможет нарезать резьбу до дна отверстия потому, что у метчика передняя часть выполнена конусом со срезанными нитками резьбы для захода в отверстие. В результате при достижении метчиком дна отверстия часть его будет без резьбы – недорез l4, который будет включать часть с неполной резьбой – сбег l3 (рис. 1, а). Величина недореза и сбега в отверстии в зависимости от шага резьбы приведена в табл. 2.
Проблемы при оплате банковскими картами
Иногда при оплате банковскими картами Visa / MasterCard могут возникать трудности. Самые распространенные из них:
- На карте стоит ограничение на оплату покупок в интернет
- Пластиковая карта не предназначена для совершения платежей в интернет.
- Пластиковая карта не активирована для совершения платежей в интернет.
- Недостаточно средств на пластиковой карте.
Для того что бы решить эти проблемы необходимо позвонить или написать в техническую поддержку банка в котором Вы обслуживаетесь. Специалисты банка помогут их решить и совершить оплату.
Вот, в принципе, и все. Весь процесс оплаты книги в формате PDF по ремонту автомобиля на нашем сайте занимает 1-2 минуты.
Если у Вас остались какие-либо вопросы, вы можете их задать, воспользовавшись формой обратной связи, или написать нам письмо на info@krutilvertel.com.
Замок
Зачастую при штамповке этих деталей на нем делается замок. Устройство коренных подшипников предусматривает замок около середины. Чтобы замок был прочным, он выполняется без разрывов.
По традициям конструирования двигателей внутреннего сгорания, замки расположены в зависимости от того, в какую сторону вращается коленчатый вал. На коренном вкладыше он нужен больше для центровки при его монтаже и для подстраховки от проворачивания. Когда двигатель испытывает масляное голодание, подшипник интенсивно нагревается, и тогда его не спасут никакие замки – вкладыш проворачивается.
Размеры
Толщина коренного подшипника-вкладыша составляет около 1,5-2 миллиметров. Нужно отметить, что иногда в качестве материалов для производства этой детали может применяться другой состав – вместо меди и свинцово-оловянных сплавов используют специальные сплавы на основе алюминия.
Но стандартизация материалов для изготовления этих изделий отсутствует – каждый производитель изготавливает вкладыш по своим уникальным формулам. Единственное, что объединяет изделия между собой – это стальная лента.

Практика показывает, что используются следующие размеры слоев при производстве подшипников скольжения. Так, толщина стальной основы составляет от 0,9 миллиметра и более. Основной слой имеет толщину до 0,75 миллиметра. Слой никеля – 0,001. Слой сплава олова и свинца – 0,02-0,04 миллиметра. Оловянный слой — 0,005.
Любые сплавы, использующиеся в производстве, индивидуально подбираются для каждого мотора и рассчитываются, учитывая твердость материалов, из которых изготавливается коленчатый вал. Для повышения ресурса и работоспособности новых или ремонтных моторов рекомендуется применять только те детали, которые советует использовать производитель.

Чем тоньше коренной подшипник, тем более высокими характеристиками он обладает. Более тонкие изделия гораздо лучше лежат на постели, обладают лучшим отводом тепла, зазоры в них ниже. В современных моторах производители стараются использовать более тонкие подшипники скольжения.
Вкладыш должен быть изготовлен не только из правильно подобранных компонентов. Также очень важна и форма. Дело в том, что для правильного монтажа необходимо, чтобы подшипник имел натяг на диаметре постели коленчатого вала.
Натяг делают не только по диаметру изделия, но и по его длине. Так удается достичь отличного контакта между вкладышем-подшипником и постелью. Для валов диаметром до 40 миллиметров натяг должен составлять от 0,03 до 0,05 миллиметра. Для более крупных валов (70 миллиметров) и выше натяг составляет от 0,06 до 0,08 миллиметра.
В устройстве этой детали также имеется верхняя часть – это крышки коренных подшипников. Они фиксируются болтами или же шпильками на картере двигателя.

Производится данная деталь, а именно вкладыш, методом штамповки из стальной ленты. Штамп придает детали форму. А затем выполняется обработка торцевых частей и рабочей поверхности. Данная деталь очень точная. Допуск от номинального размера до 0,02 миллиметра на длину и до 0,005 по толщине.
Коренные подшипники коленчатого вала: обзор, особенности и виды
Совершенно любой двигатель – это достаточно сложный механизм, который состоит из множества различных компонентов. Каждая деталь этого механизма обеспечивает слаженную и правильную работу всей системы в целом. При этом одни детали в большом механизме могут играть серьезные роли, а другие не настолько функциональны. Коленчатый вал, как и прочие узлы и детали, которые имеют к нему прямое отношение – это наиболее значимая часть ДВС. Именно он обеспечивает вращение маховика путем превращения энергии горения топливной смеси в механическую работу.
Одна из важных деталей в устройстве двигателя – коренной подшипник. Это небольшая деталь в форме полукольца из металла средней жесткости, имеющая специальное антифрикционное покрытие. Когда двигатель эксплуатируется в течение длительного времени, эти подшипники или вкладыши подвергаются сильному износу. В статье подробнее рассмотрим эти небольшие, но очень важные элементы ДВС.
Размеры винта
1. Для обеспечения прочности соединения экспертно установлена зависимость необходимой проектной глубины hпр завинчивания в тело корпусной детали от диаметра стержня винта:
где kd=h/d – относительная глубина завинчивания, которую принимают по табл. 1; d – диаметр винта.
Таблица 1. Глубина завинчивания винта в корпусную деталь
| Материал винта, шпильки –
сталь (σв , Н/мм2) |
Величина kd при материале корпуса | ||||
| сталь | дюралюминий | бронза | чугун | силумин | |
| 400…500 | 0,8…0,9 | 0,8…0,9 | 1,2…1,3 | 1,3…1,4 | 1,4…2,0 |
| 900…1000 | 1,6…2,0 | 1,6…2,0 | 1,8…2,2 | 2,0…2,5 | 2,0…2,5 |
2. Находят проектную, предварительную, длину стержня винта:
где δΣ – суммарная толщина прикрепляемых к корпусу деталей, которая зависит от типа винта, наличия и типа стакана и
наличия прокладки (рис. 1).
Расчетное значение lпр округляют в большую сторону до стандартного для данного типа и размера винта и получают фактическую длину винта – l.
3. Уточняют значение глубины завинчивания винта:
4. Проверяют достаточность резьбы на винте по условию:
или
где l0 – длина нарезанной части винта, которую принимают по таблице для соответствующего винта; S – шаг резьбы; l2 – недорез (учитываемый при l0 ≈ l) (рис. 1, в).
Значения l2 принимают по табл. 2.
5. Определяют глубину нарезания резьбы в корпусе (рис. 1, а):
где l3 – сбег резьбы, принимают по табл. 2.
Таблица 2. Сбеги и недорезы резьбы, мм
| Шаг резьбы, S | Винт | Отверстие | |
| недорез | сбег | недорез | |
| l2 | l3 | l4 | |
| 1,0 | 3,0 | 2,7 | 4,0 |
| 1,25 | 4,0 | 3,3 | 5,0 |
| 1,5 | 4,0 | 4,0 | 6,0 |
| 1,75 | 4,0 | 4,7 | 7,0 |
| 2,0 | 5,0 | 5,5 | 8,0 |
| 2,5 | 6,0 | 7,0 | 10,0 |

Рис. 2. Определение необходимой длины болта для скрепления деталей
Расчетное значение h0пр округляют в большую сторону до стандартного значения h.
Определяют глубину сверления под резьбу:
Расчетное значение δ0пр округляют в большую сторону до стандартного значения δ.
При применении шпильки или болта с гайкой для скрепления деталей (рис. 2) расчет выполняется аналогично расчету для винта с уточнением:
где l – длина стержня болта; δΣ – суммарная толщина скрепляемых деталей; S – шаг резьбы.
Выступающая часть болта или шпильки над гайкой должна быть не более двух шагов резьбы.
Болт — крепление — крышка
Износ или срыв резьбы под болты крепления крышек в корпусах устраняют путем рассверливания отверстий и нарезания в них резьбы ремонтного размера.
В зависимости от конструкции, болты крепления крышки или гайки болтов зашплинтовываются. При окончательно затянутых подшипниках коленчатый вал должен свободно проворачиваться усилием одного человека за рычаг с плечом, равным плечу заводной рукоятки.
При разборке челюстной буксы отворачивают болты крепления крышек, снимают осевой упор с передней крышкой, зачаливают буксу краном и снимают ее с шейки оси вместе с роликоподшипниками
При снятии пружинных осевых упоров крайних колесных пар нужно проявлять особую осторожность, так как пружины сжаты. В такой же последовательности разбирают буксы бесчелюстных тележек
После разборки и очистки детали букс осматривают. При обнаружении трещин в корпусе буксы и его крышках их заменяют. При наличии овальности и конусности в месте посадки наружных колец роликоподшипников более 0 25 мм корпус буксы заменяют. При меньшей выработке износ поверхностей восстанавливают осталиванием. Дефекты корпуса — раковины, плены, трещины в перемычках масляной ванны, выработку пазов под сменные опоры балансиров и по месту посадки крышек устраняют сваркой и наплавкой с последующей обработкой. При толщине наличника менее 4 мм, измеренной на середине высоты, его заменяют новым. Для восстановления нормального зазора между наличниками буксы и рамы тележки разрешается ставить под наличник толщиной более 4 мм стальные прокладки одинаковой толщины. Наличники удаляют срубанием сварочного шва. Новые наличники приваривают электросваркой прерывистым швом по контуру и укрепляют электрозаклепками. Наличники перед приваркой устанавливают так, чтобы смазочные отверстия в наличнике и корпусе буксы совпадали. Плоскости широких наличников одной буксы должны быть параллельны, непараллельность их допускается не более 0 3 мм. Неперпендикулярность широких и узких наличников, измеряемая угольником, допускается до 0 1 мм.
Проверить и при необходимости подтянуть болты крепления крышек подшипников, а если обнаружен износ подшипников — заменить их.
Чтобы снять роликоподшипники, необходимо отвернуть болты крепления крышки 9 к корпусу и снять ее с вала ротор а, затем отсоединить и снять верхнюю крышку 10 подшипника.
Срыв или износ резьбы в резьбовых отверстиях под болты крепления крышки картера и в резьбовом отверстии под штуцер восстанавливается заваркой с последующей обработкой отверстий и нарезкой резьбы-номинального размера. Перед заваркой резьбовые отверстия под болты крепления крышки рассверливаются до 0 10 мм на глубину 15 мм, отверстия же под штуцер рассверливаются до 0 12 5 мм.
Промыв этот стал возможен в результате слабой затяжки болтов крепления крышки и проникновения бурового раствора в область сопряжения контактирующих поверхностей корпуса превентора и промежуточного фланца.
|
Коробка отбора мощности ГАЗ-63А и ГАЗ-66-02. / — рычаг. 2 — пробка. 3 — крышка передняя. 4 — шток. 5 — фиксатор. б — картер. 7 — — вилка. 8 — крышка задняя. 9 — вал вторичный. W — блок шестерен. / / — вал промежуточный. 12 — ведущая шестерня. |
В процессе эксплуатации нужно следить за состоянием затяжки болтов крепления крышек подшипников и проверять затяжку гаек крепления коробки отбора мощности на шпильках. Слабая затяж ка гаек и болтов не допускается.
Восстановление сорванной или изношенной резьбы в резьбовых отверстиях под болты крепления крышек, люков, сектора и кронштейна ручного тормоза производится постановкой ввертышей.
|
Шарниры и полуоси. |
При течи масла через сальники карданных шарниров нужно отвернуть болты крепления крышки сальника, снять крышку и заменить сальник. Сальник следует запрессовывать в крышку при помощи реечного пресса или в тисках; при этом пружина должна быть обращена к картеру
Чтобы не помять крышку и сальник, при запрессовке нужно соблюдать осторожность.
Перед контролем, а также перед растачиванием гнезд вкладышей болты крепления крышек коренных подшипников должны быть затянуты динамометрическим ключом.
По указанной причине, а также для уменьшения веса болты крепления крышки нижней головки шатуна часто выполняются в одной поковке с телом шатуна ( фиг.
|
Расположение пятен контакта ( а.. д на зубьях ведомой шестерни главной передачи. |






























